Kui kaanepilti vaadates ja pealkirja lugedes tundub mõte juba piisavalt hullumeelne, siis see pole ainuke uudse mootori “peotrikk”.
Selge on see, et kui praegusel ajal tahta võimalikult kaua sisepõlemismootoritega jätkata – ja seda Ferrari kahtlemata tahab – tuleb hoogsalt uuendama kukkuda.
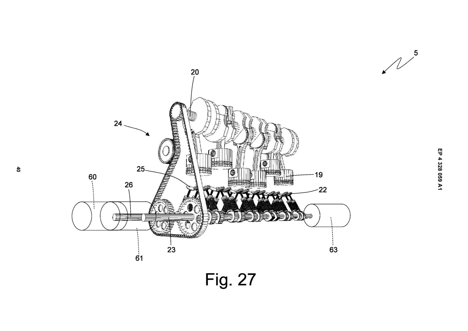
Seega hõlmab Ferrari poolt sisse antud patent lisaks kuuesilindrilise ridamootori tagurpidi keeramisele ka vesiniku sissepritset (võimalik nii otse- kui kaudpritse) ja elektrilist üle laadimist (!). Kuigi patendis on tegu ridakuuega, ei ole välistatud ka kasutus V6, V8 või V12 konfiguratsioonis. Õlitus lahendatakse kuivkarteriga.
Kuid kõigi küsimuste ema… miks? Miks tagurpidi? Paistab, et tegu on pakendamise probleemi lahendusega – niiviisi mahuvad ära nii kaks turbokompressorit kui kaks kuni neli vesinikupaaki. Kuidas kunagi hooldus või suuremad tööd käima peaksid hakkama, ei huvita tõenäoliselt kedagi – küll mehaanikute aeg kinni makstakse.
Ferrari pole esimene, kes kolbmootori pahupidi keerata plaanib – sellist lahendust on varasemalt kasutatud lennunduses, üks kuulsamaid selliseid mootoreid on De Havilland Gipsy Queen. Üldiselt on sellise tagurpidi mootoriga masinad tuntud väga suitsuse käivitamise poolest ning ka mured plokikaanetihenditega ei ole ilmselgelt ebatavalised.
 
Seda, kas Ferrari suudab füüsika poolt põhjustatavad probleemid kuidagi elegantselt lahendada, ei pruugi me aga nähagi – autotootjad patenteerivad üldiselt suhteliselt vaba käega. Parem on ja ei lähe tarvis kui pole, aga läheb!
Tehnikahuvilised saavad jooniste ja kirjeldustega lähemalt tutvuda siin.
Fotod: Ferrari, Wikimedia Commons/kasutaja Nimbus227

