autor Ylle Rajasaar3. juuni 2025Toyota ja Harvia töötasid välja nullheitega… suitsusauna3 Mins Read INNOVATSIOON
autor Ylle Rajasaar14. mai 2025Soomlased jõudsid ette: Jyväskyläs tulevad sügisel liinile vesinikbussid4 Mins Read BUSS
autor Ylle Rajasaar5. märts 2025Veebruaris tõusis uute mudelite esikümnesse suurüllataja4 Mins Read POPID AUTOD
autor accelerista9. okt. 2024Järgmine aasta toob Eestisse 3 vesinikutanklat ja 30 vesinikautot2 Mins Read PÄEVAKAJALINE
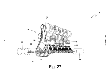
autor Veli V. Rajasaar9. apr. 2024Ferrari patenteeris “pea alaspidi” sisepõlemismootori2 Mins Read INNOVATSIOON
autor Veli V. Rajasaar23. jaan. 2024Austerlased toovad uudiseid vesinikpõlemismootorite rindelt3 Mins Read PÄEVAKAJALINE
autor accelerista15. nov. 2023“Istmesoojendus” 180: lõpuks jõuavad ka Eestisse vesinikutanklad2 Mins Read PÄEVAKAJALINE
autor Ylle Rajasaar4. apr. 2023Toyota ja Haima Automobile jagavad vesinikuvaimustust Hiinas2 Mins Read VÄLISMAA